[소개] 에소테릭 K-03XD SACD 플레이어 > 리뷰

본문 바로가기
회원가입  |  로그인  |  장바구니  |  주문조회 사이트 내 검색
리뷰

Esoteric | [소개] 에소테릭 K-03XD SACD 플레이어

본문

cc06c639275d748e389e507e13be5b34_1582003502_5071.jpg
 

일체형 디지털 플레이어 K-03은 등장 이후 놀라운 음악 재생 능력을 인정받아 수많은 상을 수상했으며, 전 세계 디지털 플레이어의 레퍼런스 기기로 등극하였습니다. 한층 더 진화한 ‘XD’ 에디션은 플래그십 그란디오소 K1X(Grandioso K1X)의 개발에서 축적한 2개의 신기술을 도입하여 음악 재생능력을 더욱 향상시켰습니다. 높은 완성도를 자랑하는 ‘VRDS-ATLAS’ SACD 트랜스포트 메커니즘과 에소테릭의 자존심을 걸고 완성한 ‘마스터 사운드 디스크리트 DAC(Master Sound Discrete DAC)’가 그것입니다. 교향곡의 클라이맥스를 그려내는 엄청난 다이내믹레인지와 해상력, 음악의 디테일을 표현하는 음색의 다채로움, 실크처럼 부드러운 아리아에서 강력한 락 음악까지 다양한 장르에 적응할 수 있는 유연성을 갖춰 음악 애호가를 사로잡아온 확고한 명기의 새로운 혈통이 만들어내는 사운드를 마음껏 즐길 수 있습니다.



cc06c639275d748e389e507e13be5b34_1582003522_8104.jpg
 

VRDS(Vibration-Free Rigid Disc-Clamping System)는 에소테릭 브랜드 설립 이래 고집해온 CD/SACD 트랜트포트 메커니즘의 핵심 기술입니다. 디스크를 동일한 직경의 턴테이블에 고정하고 회전 시 디스크 자체의 회전 진동이나 메커니즘의 불필요한 진동을 철저히 억제합니다. 또한 턴테이블은 디스크의 변형을 교정함으로써, 광학 픽업과 디스크 피트면의 광축 정확도를 크게 향상시켜 서보 전류를 최소화하였습니다. 이를 통해 디스크 읽기 오류의 대폭적인 감소와 뛰어난 음질을 제공합니다.


cc06c639275d748e389e507e13be5b34_1582003549_7277.jpg
 


VRDS-ATLAS! 마침내 K-03 시리즈에 탑재

VRDS 메커니즘은 30년 동안 진화를 이어왔습니다. 그 빛나는 역사에서 최대의 하이라이트는 최고 수준의 완성도와 고음질을 자랑하는 새로운 플랫폼 VRDS-ATLAS의 탄생입니다. 플래그십 그란디오소 P1X, 그란디오소 K1X에 채용한 VRDS-ATLAS 레퍼런스 메커니즘의 설계를 이어받은 K-03XD 전용 VRDS-ATLAS 메커니즘을 탑재합니다.

 

cc06c639275d748e389e507e13be5b34_1582003585_1325.jpg
 


새로운 VRDS-ATLAS - ATLAS 03 

K-03XD에 탑재한 ATLAS 03은 심플한 18mm 두께의 브리지를 채용합니다. 높은 강성과 무게를 자랑하며, 음질에 영향을 미치는 모든 진동을 감쇠합니다. 턴테이블은 음질에 정평이 있는 듀랄루민을 사용했으며, SS400 스틸 풋은 VRDS-NEO보다 대형화하였습니다. 스핀들 베어링은 상위모델과 스틸 볼에 의한 점 접촉 스러스트 베어링의 마찰과 회전소음을 극한까지 억제하도록 설계하였습니다.

 

cc06c639275d748e389e507e13be5b34_1582003605_9203.jpg
 


와이드&저중심 설계에서 오는 진동의 최적 제어 

VRDS-ATLAS는 VRDS 사상 가장 조용하고 우아합니다. 이것을 실현하기 위한 핵심 기능은 진동을 보다 효율적으로 감쇄시키는 메커니컬 접지 기술입니다. 메커니즘 전체 폭이 넓어지고 높이를 낮춘 와이드&로우 프로파일 설계로 저 중심화 하였습니다. 동시에 턴테이블 구동용 모터를 기존의 브리지 상단에서 턴테이블의 아래쪽으로 이동하여 진동이 접지 될 때까지 경로를 크게 단축하고 기계적인 노이즈를 줄여줍니다. 트레이는 강성을 높이기 위해 최소화했으며, 특수 진동 흡수 엘라스토머로 만든 특수 스토퍼를 사용하여 트레이가 닫힐 때 공진을 억제합니다.

 

cc06c639275d748e389e507e13be5b34_1582003629_0348.jpg
 


음질의 핵심! 강력한 전원부 

K 시리즈의 강력하고 고급스러운 음질의 핵심은 언제나 강력한 전원부에 있었습니다. 새로운 XD 에디션은 풍부하고 생생한 사운드를 제공하기 위해 크게 향상된 전원 공급 장치를 특징으로 합니다. K-03XD에는 총 2개의 대용량 트로이달 트랜스를 탑재하여 디지털과 아날로그 회로를 위한 독립적인 전원 공급 장치를 제공합니다.



새로운 로우 피드백 DC 레귤레이터, 슈퍼 캐패시터 탑재 

그란디오소 P1X/D1X의 개발에서 축적된 기술을 도입하여 전원 레귤레이터는 집적 회로를 사용하지 않은 디스크리트 구성으로 피드백 량을 최소화하는 ‘로우 피드백 DC 레귤레이터’를 채용하여 힘차고 개방감 넘치는 사운드를 실현하였습니다. 또한 총 26개(총 용량 650,000μF=0.65F) 슈퍼 캐패시터를 탑재, 전원을 대용량화하여 저역의 해상도 등 놀라운 음질향상을 이루었습니다.



섀시 설계 및 부품 배치 

VRDS-ATLAS 트랜스포트 메커니즘을 중앙에 배치하고, 5mm 두께의 스틸 섀시에 고정하고 자사의 핀 포인트 풋(특허 제4075477호, 제3778108호)을 통한 3점 지지 방식을 사용합니다. 이를 통해 회전 메커니즘의 진동을 효과적으로 억제합니다. 섀시 내부는 더블 데크(2층) 구조로 설계하여 주요 오디오 기판을 상단에, 전원 회로와 트랜스를 하단에 배치하여 자속 누설과 진동 등의 영향을 방지하고 전원 공급 배선을 최소화하였습니다.



세미 플로팅 상단 패널  

상단 패널을 나사로 조이지 않는 세미 플로팅 구조를 사용하여, 느긋하고 해방감 있는 사운드를 제공합니다.



cc06c639275d748e389e507e13be5b34_1582003685_4378.jpg
 

음악의 생공감과 에너지의 완전한 재현

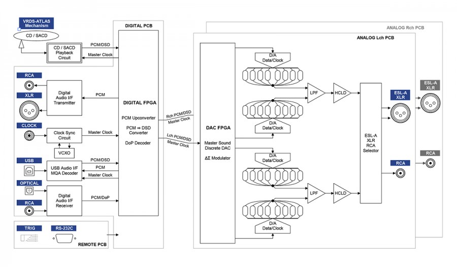
새로운 DAC는 음악의 생동감과 에너지를 전달하는 것을 목표로 개발하였습니다. 오리지널 마스터 사운드 재생을 통해 범용 DAC IC에서 제공할 수 없는 디스크리트 회로설계를 통해 음악의 완전한 재현을 실현하였습니다. 에소테릭 최고의 엔지니어 팀의 자존심을 건 혼신의 사운드가 완전한 자사 설계의 마스터 사운드 디스크리트 DAC(Master Sound Discrete DAC)로 결실을 맺었습니다.

 

cc06c639275d748e389e507e13be5b34_1582003715_1098.jpg
 


호화스러운 물량 투입과 강력한 전류 출력 능력  

마스터 사운드 디스크리트 DAC는 에소테릭 역사상 가장 혁신적인 DAC로 플래그십 그란디오소 D1X에 처음 탑재되어 현장감 넘치는 사운드로 높이 평가받았습니다. K-03XD에 탑재된 버전은 그란디오소 K1X의 핵심기술을 이어받으면서 회로를 단순하게 구성하여 03 시리즈의 사운드를 한층 더 업그레이드하였습니다. DAC는 채널당 32개 요소로 구성되며, 각 요소는 클럭 드라이버, 논리 회로, 캐패시터, 저항 등의 부품으로 구성되며 주요 부품은 32개 요소분을 모두 독립시키는 등 그란디오소 D1X의 철학을 그대로 발전시킨 호화스러운 물량투입을 통해 음악의 에너지를 남기지 않고 순수하게 출력합니다.

 

cc06c639275d748e389e507e13be5b34_1582003736_4185.jpg
 


진보한 디지털 처리 능력  

독자적으로 개발한 64bit/512Fs용 ΔΣ 모듈레이터를 탑재하여 DSD 22.5MHz, PCM 768kHz 재생을 비롯한 최신 포맷에 대응합니다. DSD, PCM을 각각 최적의 재생을 위해 FPGA(Field-Programmable Gate Array) 디지털 프로세싱 알고리즘은 ‘Master Sound Discrete DAC’를 위해 개발된 전용 알고리즘을 사용합니다.



고음질을 위한 높은 수준의 품질관리 

부품의 공차가 연산 정밀도에 직결되는 개별 DAC에서는 전자 기판의 제조에 고도의 노하우와 품질 관리가 요구됩니다. 에소테릭 자체 공장은 병원의 클린 룸 수준으로 산소로 납땜을 실시하는 등 세계 유수의 기판 탑재기술을 자랑합니다. 오디오, 의료·항공우주·방위 관련 전자기판 제조에서 축적된 기술이 ‘Master Sound Discrete DAC’의 고품질을 지원합니다.



독자적인 전류 전송 향상된 출력 버퍼회로 ESOTERIC-HCLD  

ESOTERIC-HCLD 출력 버퍼앰프는 응답속도를 나타내는 슬루율 2,000V/μs이라는 경이적인 고속을 자랑하는 소자를 채용. 아날로그 출력회로에서 가장 중요한 강력한 전류전송 능력과 스피드를 극한까지 추구하고 숨막히는 다이내믹 레인지를 통해 음악의 리얼리티를 재현합니다.

※ HCLD = High Current Line Drive



고음질의 전류 전송 방식 ‘ES-LINK Analog’ 장비  

앰프와 연결은 XLR, RCA 외에 에소테릭의 독자적인 전류전송 방식 ‘ES-LINK Analog’를 채용하여 HCLD 버퍼회로의 강력한 전류 공급능력을 활용하여 신호경로의 임피던스의 영향을 받지 않아 신호를 힘차게 전송하여 기기의 잠재력을 최대한 발휘합니다.


cc06c639275d748e389e507e13be5b34_1582003794_5529.jpg
 


그란디오소 커스텀 VCXO II 탑재 

디지털 고음질화의 가장 중요한 부분은 클럭회로에 있다고 해도 과언이 아닙니다. 좋은 클럭회로야말로 하이엔드 플레이어의 심장부라고 할 수 있습니다. K-03XD에는 P1X/D1X용으로 개발 된 고음질 클럭 장치 ‘그란디오소 커스텀 VCXO II(Grandioso Custom VCXO II)’를 새롭게 탑재합니다. 기존의 내부 회로패턴이나 부품을 변경하여 음질향상을 위한 연구 및 개발을 통해 위상 잡음이 극히 적고, 뛰어난 중심 정밀도(±0.5ppm)를 자랑합니다. 또한 마스터 클럭 제너레이터(G-01X, G-02X)와 연결하여 내부회로를 더욱 정밀한 10MHz 클럭으로 동기화 재생하여 고음질을 추구할 수 있습니다.



외부 입력 지원 D/A 컨버터, USB 단자, 다채로운 D/D 변환, MQA 지원 

동축(Coaxial), 옵티컬(Optical) 입력은 물론 비동기 전송방식의 USB 단자를 장비하여 DSD 22.5MHz, PCM 768kHz/32bit D/A 컨버터로 사용할 수 있습니다. PCM 디지털 신호를 2배, 4배, 8배, 16배(최대 768kHz)의 상향변환 기능과 PCM에서 DSD로 변환하는 기능을 탑재합니다. 또한 MQA-CD 디코딩 재생 및 USB 입력을 비롯한 각 디지털 입력 재생 시 MQA 코덱을 지원합니다.


cc06c639275d748e389e507e13be5b34_1582003845_0523.jpg
 


주요 사양

재생 가능 디스크: SACD, CD, CD-R, CD-RW

아날로그 출력

XLR/ESL-A: 좌우 각 1계통

RCA: 좌우 각 1계통 

출력 임피던스: XLR(114Ω), RCA(34Ω)

최대 출력레벨(1kHz, PCM 풀 스케일, 10kΩ 부하 시): XLR(5.0Vrms), RCA(2.5Vrms)

디지털 출력 

XLR/RCA: 각 1계통 

출력 신호형식: 리니어 PCM, 44.1kHz/16bit(CD 재생 시)

디지털 입력 

RCA, TosLink, USB: 각 1계통

리니어 PCM: 32k~192kHz 16/24bit(RCA, TosLink), 44.1k~384kHz 16/24/32bit(USB)

DSD: 2.8MHz(DoP, RCA, TosLink), 2.8MHz, 5.6MHz, 11.2MHz, 22.5MHz(USB)

클럭싱크 입력: BNC × 1(입력 임피던스 50Ω) 

입력 가능 주파수: 10MHz(± 10ppm)

입력 레벨: 사인파 0.5 ~ 1.0Vrms

외부 제어 입력: RS-232C, 트리거

전원: 220V AC 50~60Hz

소비전력: 25W

크기(W x H x D): 445 × 162 × 438mm

무게: 28kg


cc06c639275d748e389e507e13be5b34_1582004479_0567.jpg
 

관련상품

관련상품

댓글목록

등록된 댓글이 없습니다.

시청실 안내 및 예약문의

운영시간
ㆍ평일 10:00 ~ 20:00
ㆍ토요일 11:00 ~ 18:00
ㆍ일요일 휴무

오시는길

은행정보

국민은행 464801-01-173179
예금주  양원모(이제이코퍼레이션)


NOTICE

제네바스피커 신상품 출시 "DeCon XL"
WiiM Amp Ultra 예약판매
2025 봄맞이 로이코 오디오쇼
WiiM Ultra 입고
WiiM Ultra 입고
WiiM 시리즈 입고

고객문의

02. 548. 9439

02. 568. 9439


고객센터 운영시간

10:00 ~ 20:00

이용약관 | 개인보호정책 | 오시는 길 | 회사소개 | 호스팅제공자:카페24
이제이코퍼레이션
(06018) 서울특별시 강남구 압구정로54길19 주한빌딩 4층
T. 02-548-9439, 02-568-9439 F. 02-578-9439
대표자 : 양원모 정보관리책임자 : 양원모(yangwm71@naver.com)
사업자등록번호 : 212-23-98391 통신판매업번호 : 제2015-서울강남-03937호
Copyright © 2015 AUDIOSQUARE Inc. all rights reserved. 상단으로